插置與擋板
一、頂插法:
凡將攪拌器自攪拌槽之頂部插浸於槽內攪拌者謂之頂插法,可分為中心插浸(圖A)、偏心插浸(圖B)及偏心斜插(圖C)等三種。

(A)中心插浸 (B)偏心插浸 (C)偏心斜插
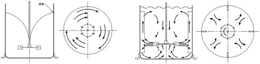
A. 中心插浸在低黏度且無擋板阻流之操作時,液體會產生打旋現象(圖D),攪拌速度越快則打旋越強烈,此種混合效率最低,通常係加裝擋板加以消除(圖E),在直立槽內加裝四個直立標準擋板組,板寬約槽直徑之1/10~1/12左右,由於進一步增加板寬時並未發現動力增加,故由輪葉動力消耗觀點看,此項寬度並不能視為標準之板寬,因為實驗證明發現,板寬範圍有助於流體上下打混,並消除渦流現象。但是板數增加時,動力消耗增加。當液體黏度增加時,對擋板需求層度隨之降低,板寬隨之減小,擋板可與槽壁保留適度之空隙讓流體穿過,而不至於產生滯留現象,更高黏度之液體則可採用斜角度方式安裝。
B. 偏心插浸一般應用於小型槽之攪拌,將攪拌器自桶槽中心移開,可為直立或斜角插浸,有時不需採用檔板即可消除打旋現象。
(D)打旋現象 (E)阻流板
二、側插法:
在大型之儲槽中是防止打旋的方法之一,將攪拌器插置於槽之側邊(圖F),其中攪拌器應與桶徑方向保有一個夾角。
保留7°<β°<10°間,此方式可產生良好之流態,若夾角不正確,則會發生混合不良現象。
由於桶槽內液體產生強大壓力,此安裝方式必須裝置軸封防漏,選用時必須考慮成本問題。

(F)側插法
低黏度檔板 中高黏度檔板 更高黏度檔板